Класс Месторождения: Среднее
Тип Месторождения: Газоконденсатное
Местоположение:
Местность:
Стадия разработки:
Год открытия:
Источник информации: Росгеолфонд
Метод открытия:
Площадь: 2.3 км²
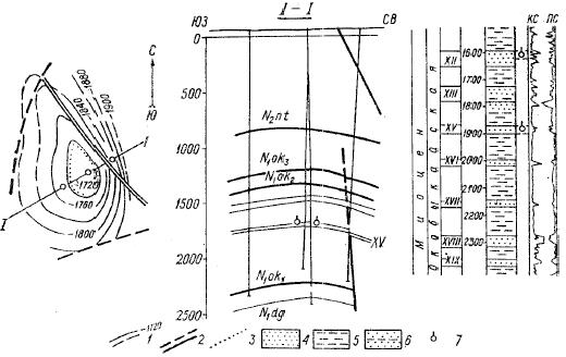
Абановское газонефтяное месторождение
Абановское газонефтяное месторождение приурочено к небольшой брахиантиклинальной складке. На севере она кулисообразно сочленяется с Гиляко-Абунанской, на юге — с Нельминской брахиантиклиналями. Структура асимметрична: углы падения пород на восточном крыле достигают 40—50, на западном — до 6—10°. В пределах площади отмечено два разрыва (взброс и оброс), влияющие на размещение залежей.

Рис. 1. Абановское газонефтяное месторождение.
1-изогипсы по кровле XVпласта, 2- разрывы, 3- контур газоносности, 4,5,6 - песчаные, глинистые и песчано-глинистые породы соответственно, 7- газ
В результате поисково-разведочного бурения (1961—1963 гг.) выявлены небольшие залежи нефти и газа в отложениях окобыкайской и дагинской свит. Залежь газа в XII пласте была выявлена при опробовании скв. 4. Дебит газа составил (через 8-миллиметровый штуцер) 124 тыс. м3/сутки при начальном пластовом давлении 156 кгс/см2, дебит воды — до 15 м3/сутки. Залежь пластовая, тектонически экранированная. Газоносность XV пласта установлена при испытании скв. 1 (интервал перфорации 1757— 1761 м), где был получен фонтан газа с дебитом 24,2 тыс. м3/сутки через 5-миллиметровый штуцер. Залежь пластовая сводовая. По составу газ в обеих залежах метановый (94—97%), с плотностью от 0,566 (XII пласт) до 0,601 кг/м3 (XV).
Следует отметить, что небольшие притоки нефти с дебитом 6,2 т/сутки были получены в скв. 5 при опробовании XXI пласта дагинской свиты, Залежь нефти водоплавающая и не имеет промышленного значения. При опробовании верхней части кровли XXIII пласта (скв. I) получен небольшой приток газа с дебитом 4633 м3/сутки.
Геология нефтяных и газовых месторождений Сахалина. Л., «Недра», 1974. 183 с. (Труды Всесоюзн. нефт. научн.-исслед. геол. разв. ин-та, вып. 328). Авт.; С. II. Алексейчик, Т. И. Евдокимова, В. С. Ковальчук и др.
Следующее Месторождение: Карасевское(Волгоград)