Класс Месторождения:
Тип Месторождения: Нефтегазовое
Местоположение: Море
Местность:
Стадия разработки: Добыча
Год открытия: 1954
Источник информации:
Метод открытия:
Площадь: 9.88 км²
Месторождение Грязевая Сопка находится в Каспийском море к востоку от г. Баку и юго-востоку от о. Артема. Это район открытого моря с глубинами порядка 15-25 м. Дно моря сложено песчано-глинистыми породами, среди которых встречаются плотные песчаники. Наносные отложения состоят из песка и ракуши. Характер рельефа дна находится в прямой зависимости от тектоники и литологии коренных пород.
Основная особенность климатических условий района заключается в преобладании сильных северных ветров от 5 до 9 баллов. Штилевая погода стоит не более 30-35 дней в году. Максимальная высота волны 11 -13 м, в году 75-80 дней с волнением более 5 баллов.
Разведка месторождения производится с отдельных морских оснований. Снабжение буровых и переброска вахт осуществляются катерами и крановыми судами. Основная база находится на эстакаде Нефтяных Камней, расположенной в 4 км к юго-востоку.
10 августа 1952 г. была начата первая скв. 22, заложенная в присводовой части юго-западного крыла складки. В последующие годы пробурили 19 разведочных скважин, вскрывших нефтяные залежи в нижнем отделе продуктивной толщи среднего плиоцена.
В первый период разведки существовало мнение о том, что Грязевая Сопка является северо-западной удлиненной периклиналью большой складки Нефтяных Камней. Разведочные работы 1954-1955 гг. позволили уточнить схему тектоники района и выделить самостоятельное брахиантиклинальное поднятие Грязевой Сопки, отделенное от структуры Нефтяных Камней неглубокой седловиной.
Геологический разрез поднятия Грязевой Сопки изучен исключительно по данным глубокого бурения. Вскрыты и изучены отложения плиоценового возраста (продуктивная толща и понтический ярус), подстилающие продуктивную толщу. Понтические отложения представлены глубоководной фацией - серыми и темно-серыми, неплотными, тонкоотмученными карбонатными глинами. Очень редко встречаются песчанистые разности. Микрофаунистические отложения понта характеризуют Paracypria loezyi Lal., Leptocythere praebacuana Liv., Loxoconcha alata Schn., Loxoconcha eichwaldu Liv., и другие остракоды эмбрионы Pelecypoda и др.
Наиболее изучены отложения продуктивной толщи, к которым приурочены залежи нефти.
Разведочными скважинами вскрыты в основном отложения среднего и нижнего отделов. Подошва среднего отдела залегает на глубине 260 м с вариациями от нуля, когда на дне моря обнажаются породы нижнего отдела, до 500 м в периклиналыюй части складки.
Вдоль свода складки обнажаются породы кирмакинской (КС), надкирмакинских песчаной (НКП) и глинистой (НКГ) свит.
Общая мощность нижнего отдела в среднем составляет 900 м с колебаниями от 700 до 1200 м. Разрез представлен (снизу вверх, рис. 1) следующими породами.
Калинская свита (КаС), налегающая непосредственно на понтические отложения, сложена в основном глинисто-песчаными породами, чередующимися с пластами песков, песчаников и алевритов, с редкой примесью гравия. Видимая мощность песчано-глинистой пачки КаС около 300 м. Глины преобладают над песками и составляют 60% всей мощности свиты. На площади Грязевая Сопка в разрезе КаС выделены четыре песчаных горизонта мощностью от 20 до 30 м, отделенные друг от друга мощными глинистыми разделами.
Песчаные горизонты представлены серыми и светло-серыми среднезернистыми кварцевыми песками и песчаниками с примесью мелкозернистых глинистых разностей. Глинистые разделы представлены серыми и светло-серыми песчанистыми глинами.
Песчаные породы КаС характеризуются значительной разнозернистостью. Средний гранулометрический состав: фракция >0,25 составляет 6,9%, фракция 0,25-0,1-27,5%, фракция 0,1-0,01-37,2%, фракция <0,01- 28,4%. Содержание карбонатов составляет 14,2% с пределами от 4 до 39,4%. Пористость в среднем равна 17% с колебаниями от 3,3 до 33,4%. Проницаемость невысокая - от единиц до 500 миллидарси.
По данным петрографических анализов коллекторы КаС характеризуются содержанием в легкой фракции следующих компонентов: кварц - 53,3%, полевые шпаты - 17%, обломки пород - 29,6%, глауконит - 0,1%. Тяжелая фракция содержит следующую ассоциацию минералов: пирит - 44%, магнетит-ильменит - 2%, нерудные (непрозрачные) - 13%, слюды и хлорит - 8%, глауконит - 19%.
Содержание лимонита, граната, циркона, турмалина, биотита, дистена, ставролита и силлиманита около 1 % каждого.
Подкирмакинская свита (ПК) имеет среднюю видимую мощность 100 м и представлена пачкой серых кварцевых песков и песчаников с некоторой примесью глинистых частиц. Прослоев глины в разрезе ПК мало (до 30% от всей мощности свиты). Пески отсортированы плохо, макроскопически определяются как мелко-среднезернистые. Глины плохо отмучены, часто песчанисты.
В свите ПК выделено два объекта: ПК-1 и ПК-2, каждый из которых представлен песчаной пачкой, содержащей до 3-4 пластов. Раздел между этими объектами представлен глинистой пачкой изменчивой мощности.
Средний гранулометрический состав коллекторов: фракция >0,25 составляет 1%; фракция 0,25-0,1-24,8%; фракция 0,1-0,01-45,7%; фракция <0,01-28,5%. Содержание карбонатов около 10%. Пористость в среднем равна 20%, проницаемость порядка 100- 120 миллидарси.
Кирмакинская свита (КС) представляет собой однородную толщу чередующихся мелкозернистых песков и песчаников, глин и глинистых песков со средней видимой мощностью около 300 м. Это чередование доходит до тончайшего переслаивания, среди которого залегают прослои песков мощностью от 1 до 5-7 м. Наиболее песчаные пласты выделяются в средней части и в низах свиты. Средняя пачка песков мощностью 10-15 м отличается повышенными сопротивлениями по каротажу. Подошвенная пачка достигает мощности 50 м. Пески содержат в легкой фракции 50% кварца, 42% полевых шпатов и 8% обломков пород. Тяжелая фракция в преобладающем составе содержит: пирит - 72%, слюды и хлорит - 11%, непрозрачные нерудные минералы- 10% и глауконит - 5%.
Надкирмакинская песчаная свита (НКП) состоит из средне- и крупнозернистых кварцевых песков с прослоями песчаников, главным образом подошвенных. Прослои глин очень редкие и тонкие. Средняя видимая мощность 35 м. На долю песков приходится около 70% от всей мощности свиты.
Надкирмакинская глинистая свита (НКГ) представлена преимущественно глинами с редкими и маломощными прослоями песков и алевритов. Глинистость разреза увеличивается от подошвы к кровле. Видимая мощность свиты 125 м. Глины НКГ темно-серые и буровато-серые, слоистые, жирные. Пески тонко- и мелкозернистые, серые, светло-серые. Пески составляют около 20% от всей мощности свиты.
Свита «перерыва» и низы балаханской свиты являются отложениями верхнего и среднего отделов продуктивной толщи и слагают в основном крыльевые и периклинальные части складки. Из серии отложений в низах выделяется песчаная пачка, известная под названием свиты «первого перерыва», мощностью около 100 м. Свита «первого перерыва» представлена средне- и крупнозернистыми песками и песчаниками.
Отложения балаханской свиты более или менее полно вскрыты в периклинальных скважинах, где ее видимая мощность достигает 400 м. На остальной части Грязевой Сопки вскрыты лишь низы ее не более 150 м.
Брахиантиклинальная складка Грязевая Сопка расположена на региональной тектонической линии, протягивающейся от Камней Григоренко на юго-восток через о. Жилой, Грязевую Сопку и Нефтяные Камни, и представляет собой локальное поднятие на этой линии. Длина складки более 6,5 км.
Структурная поверхность по кровле ПК обрисовывается по данным 20 скважин глубокого разведочного бурения (рис. 2). Сводовая часть протягивается в виде узкого гребпя и в пределах изогипсы 500 м длина свода равна 4 км при ширине 0,4-0,5 км. Купольная часть расположена эксцентрически по отношению к периклинальным замыканиям и находится ближе к седловине, отделяющей поднятие Нефтяные Камни. В направлении с юго-востока на северо-запад купольная часть делит все поднятие в отношении 1:4. Северо-западная периклиналь делает плавный поворот к западу и ось складки прочерчивает изогнутую линию, ориентированную по направлению от 100 до 135°. Благодаря такому изгибу оси северо-восточное крыло складки длинее юго-западного. Складка несколько асимметрична. Углы падения юго-западного крыла 35-37°, а северо-восточного 40-45° (рис. 3).
Углы падения юго-восточного замыкания около 16°, а северо-западной периклинали порядка 10-12° (рис. 4). С глубиной углы падения увеличиваются в связи с увеличением мощности отдельных свит на крыльях. Увеличение углов падения по обоим крыльям структуры приводится в табл. 1.
Картину распределения истинных мощностей по горизонтам КС, ПК и КаС можно проследить по картам изопахит (рис. 5). Интересно отметить значительное увеличение мощности КаС в районе скв. 425 и на всем юго-западном крыле.
Дополнительных нарушений структуры Грязевая Сопка по данным бурения не обнаружено. Однако можно предположить наличие продольного нарушения, ориентированного вдоль сводовой линии складки, которое может представлять собой продолжение крупного продольного разрыва, прослеженного по Нефтяным Камнями о. Жилой. Данные морских сейсморазведочных работ подтверждают предположение о существовании подобного нарушения.
Существует предположение, что между Грязевой Сопкой и структурой о. Жилой расположено еще одно промежуточное поднятие. В этом смысле интересные данные получены сейсморазведкой методом КМПВ. На структурной схеме, построенной по условному сейсмическому реперу, приуроченному к кровле ПК, между о. Жилой и Грязевой Сопкой прослеживается узкий гребень, свидетельствующий о наличии здесь еще одного поднятия.
В районе разведочных скв. 75 и 79 обнаружено жерло грязевого вулкана, благодаря которому вся площадь получила наименование Грязевая Сопка.
На площади Грязевая Сопка выделение пузырьков газа и капелек нефти на поверхности моря можно заметить только в тихую погоду.
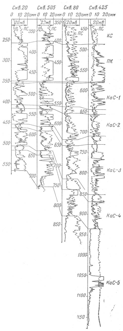
По данным отобранным из скважин грунтов и каротажных показаний газонефтенасыщенными являются горизонты нижнего отдела продуктивной толщи: КаС, ПК и КС. Более верхние горизонты нефти не имеют (см. рис. 1). По каротажу песчаные нефтеносные горизонты КаС выделяются пиками от 15 до 50 ом м, причем отдельные пики достигают 70 ом м. Линия ПС нечеткая, хотя против пористых проницаемых пластов наблюдаются отрицательные аномалии с амплитудой до 10 мв. Горизонты свиты ПК выделяются по кажущимся сопротивлениям от 20 до 60 ом м и отрицательным аномалиям ПС. В ненефтеносной части пласта горизонты ПК отмечаются сопротивлением от 3 до 8 ом м. В кирмакинской свите подошвенная пачка имеет сопротивления до 10 ом м, а срединная до 25 омм. Остальные песчано-глинистые ненефтенасыщенные горизонты отмечаются сопротивлениями от 1 до 5 омм.
Промышленное испытание было произведено в КаС, которая является основной нефтепродуктивной свитой на месторождении. Притоки нефти были получены в девяти скважинах, расположенных в сводовой части и на юго-западном крыле складки. В четырех скважинах, пробуренных за контуром нефтеносности, получена пластовая вода и в двух скважинах, расположенных на своде приток газа.
В табл. 2 приводится характеристика начального периода эксплуатации по скважинам КаС.
В газовых скважинах притоки газа составили 50 000-100 000 м3/сутки.
Свита ПК была опробована в одной прикупольной скважине. При освоении была получена очень тяжелая нефть уд. веса 0,945. Скважина работала слабо с переливом 0,3- 0,5 т/сутки.
Сопоставление каротажных диаграмм и результатов опробования скважин указывает на их неодинаковое нефтенасыщение в зависимости от местоположения скважины на структуре. Нефтенасыщенность КаС заметно улучшается в направлении северо-западной периклинали и на юго-западном крыле.
Удельный вес нефтей изменяется от 0,9208 до 0,9438 при среднем значении 0,9290. Нефти обладают высокой вязкостью. При 20° С вязкость была определена только в наиболее легких нефтях. Остальные нефти при 20° С оказались нетекучимп.
Сравнивая свойства нефтей КаС Грязевой Сопки с нефтями КаС Нефтяных Камней, можно заметить, что нефти Грязевой Сопки более тяжелые, смолистые и вязкие, ближе по своим свойствам к нефтям о. Жилой и даже тяжелее последних.
В процессе разведки пластовые воды получены из горизонтов ПК и КаС. Они во всех горизонтах подпирают нефтяные залежи, что обусловливает существование водонапорного режима.
Пластовые воды Грязевой Сопки являются щелочными гидрокарбонатно-натриевого типа, класса S1A12 с отсутствием или очень незначительным содержанием сульфатов (до 0,0008 г-экв на 100 г воды). Суммарная минерализация в среднем составляет 0,0627 г-экв на 100 г воды с пределами 0,0524-0,0814 г-экв. Соленость по Бомэ составляет 2,22° с колебаниями от 2 до 2,76°. Характеристики Пальмера: S1 = 81,5%, А1 = 15,9%, А2 = 2,6%. Отношение Na/Cl изменяется от 1,03 до 1,5, отношение Ca/Mg изменяется от 1 до 2. Средние содержания анионов (в г-экв на 100 г воды): С1- 0,0261; SO4- 0,0003; НСO3- 0,0040. Средние содержания катионов: Na+К -0,0308; Са -0,0005; Mg-0,0003. Содержание нафтеновых кислот 0,0007 г-экв.
Пластовые воды Грязевой Сопки более минерализованы, чем воды Нефтяных Камней, и относятся к тому же типу щелочных вод.
Учитывая современное состояние наших представлений о геологии и нефтеносности месторождения Грязевой Сопки, можно сделать следующие основные выводы.
1. Грязевая Сопка представляет собой весьма перспективную площадь с установленной промышленной нефтеносностью в отложениях калинской свиты и хорошими показаниями по ПК свите.
2. Нефтеносность коллекторов КаС и ПК улучшается в северо-западном направлении. Сопоставление этого положения с данными по тектонике района заставляет предполагать наличие еще одного поднятия между Грязевой Сопкой и о. Жилой.
3. Вопросы разработки и эксплуатации имеют свою специфику, связанную с качеством нефти, пластовыми давлениями и литологией коллекторов, и в целом значительно отличаются от условий Нефтяных Камней.
НПУ Гюргяннефтъ
Свита | Углы падения пластов | |
северо-восточного крыла | юго-западного крыла | |
НКГ | 38 | 35 |
нкп | 42 | 36 |
КС | 43 | 36 |
ПК | 45 | 37 |
КаС | 46 | 38 |
№ скв. | Среднесуточный дебит, т | Рбуф, атм |
79 | 32 | 5 |
261 | 40 | 30 |
290 | 22 | 6 |
295 | 37 | 22 |
370 | 20 | -- |
450 | 17 | 5 |
460 | 15 | 3 |
465 | 42 | 18 |
505 | 17 | 14 |

Рис. 1. Сопоставление каротажных диаграмм по кровле КаС.

Рис. 2. Структура кровли ПК.
1 - изогипсы кровли ПК; 2 - ось структуры; 3 - граница установленной нефтеносности КаС; 4 - предполагаемая граница газовой шапки.
>
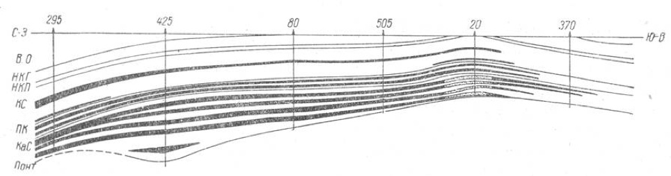
Рис. 3. Поперечный геологический разрез.
>
Рис. 4. Продольный геологический профиль.

Рис. 5. Карта равных мощностей КаС.
http://www.geolib.ru/OilGasGeo/1960/03/Stat/stat12.html
Следующее Месторождение: Банка Апшерон