Класс Месторождения: Среднее
Тип Месторождения: Газовое
Местоположение:
Местность:
Стадия разработки:
Год открытия: 1964
Источник информации: Росгеолфонд
Метод открытия:
Площадь: 5.24 км²
Газовое месторождение Южная Кенига
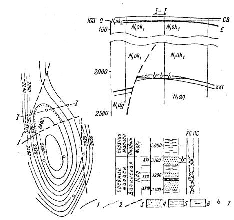
Газовое месторождение Южная Кенига связано с небольшой брахиантиклиналью размером 5,1X2,6 км, ориентированной в меридиональном направлении. Складка впервые была выявлена детальной геологической съемкой и подготовлена к разведке МОВ и структурным бурением. Амплитуда складки около 200 м. Углы падения западного крыла составляют 15, восточного— 10°. Структура пересечена тремя сбросами с амплитудами смещения до 300 м. В строении месторождения принимают участие отложения дагинской (вскрытой мощностью 560 м) и окобыкайской (2500 м) свит.

Рис.1. Газовое месторождение Южная Кенига
1-изогипсы по кровле ХXIпласта, 2- контуры газоносности, 3- разрывы, 4,5,6 - песчаные, глинистые и песчано-глинистые породы соответственно, 7- газ
Газоносность площади была впервые установлена в 1964 г., когда при опробовании скв. 4 (интервал перфорации 2082—2111 м) был получен приток газа с дебитом 45,9 тыс. м3/сутки (через 6-миллиметровый штуцер). Залежь газа приурочена к XXI пласту дагинской свиты и относится к тектонически экранированным (на периклинали). По составу газ в основном метановый (до 72,4%), но с большим содержанием тяжелых углеводородов (26%)- Начальное пластовое давление в залежи 213,6 кгс/см2. Размеры ее незначительны.
Небольшие притоки газа в этой же скважине были получены при исследовании XX пласта (интервал перфорации 1791 —1793 м) и XI пласта (824—830 м) окобыкайской свиты. Дебиты газа соответственно достигали 32,0 и 25,5 тыс. м3/сутки. В нижнем пласте (XX) зарегистрировано большое содержание тяжелых углеводородов (до 18%).' Плотность газа возрастает с глубиной: от 0,583 (XI пласт) до 0,751 кг/м3 (XX).
Незначительные притоки нефти (0,5 т/сутки) были получены при опробовании скв. 1 (интервал перфорации 1945—1953 м, пласт XX) в своде складки. Воды месторождения гидрокарбонатно-натриевые, слабоминерализованные.
Геология нефтяных и газовых месторождений Сахалина. Л., «Недра», 1974. 183 с. (Труды Всесоюзн. нефт. научн.-исслед. геол. разв. ин-та, вып. 328). Авт.; С. II. Алексейчик, Т. И. Евдокимова, В. С. Ковальчук и др.
Следующее Месторождение: Прибрежное (Сахалин)